Теплосчетчики «Струмень» ТС-05К предназначены для:
измерения потребляемой или отпущенной тепловой энергии в закрытых системах централизованного водяного теплоснабжения.
Область применения теплосчетчиков «Струмень» ТС-05К:
системы учета потребления тепловой энергии на объектах (квартирах) с малым потреблением тепловой энергии.
Состав теплосчетчиков «Струмень» ТС-05К:
- электронный вычислитель (ЭВ) с крыльчатым расходомером в общем корпусе - 1
- термопреобразователи сопротивления (ТСП) – 2
Теплосчетчики «Струмень» ТС-05К внесены в Государственный реестр средств измерений Республики Беларусь под №РБ 03 10 4975 17 и имеют сертификат об утверждении типа № 11464 от 28.11.2017г.
Подкатегория ОКРБ 007-2012: 26.51.52.830
Технические характеристики теплосчетчиков «Струмень» ТС-05К:
- Номинальный диаметр DN 15, 20
- Диапазон измерения температур – от 1 град. С до 105 град. С
- Условное давление – PS 16
- Класс точности – 2 по СТБ EN 1434-1
- Питание – литиевая батарея (срок службы не менее 5 лет)
- Межповерочный интервал – 4 года
| Условное обозначение ППР | Ду | Макси-ный расход | Постоянный (ном-ный) расход | Мини-ный расход | Монтажная длина | Вес (муфта) |
|---|---|---|---|---|---|---|
| мм | м3/ч | м3/ч | м3/ч | мм | кг | |
| 0,6-0 | 15 | 1,2 | 0,6 | 0,012 | 110 | 0,8 |
| 1,0-0 | 15 | 2,0 | 1,0 | 0,02 | 110 | 0,8 |
| 1,5-0 | 15 | 3,0 | 1,5 | 0,03 | 110 | 0,8 |
| 1,5-1 | 20 | 3,0 | 1,5 | 0,03 | 130 | 0,8 |
| 2,5-1 | 20 | 5,0 | 2,5 | 0,05 | 130 | 0,8 |
| Наименование параметра | Значение параметра |
| Класс точности теплосчетчиков по СТБ EN1434-1-2011 | 2 |
| Пределы допускаемой относительной погрешности теплосчетчиков при измерении тепловой энергии Е, % | ±(3+4·DΘмин/DΘ+0,02·qp/q), где DΘи DΘмин - значение разности температур и его наименьшее значение, °С; qи qp– значение расхода теплоносителя и его постоянное значение, м3/ч |
| Диапазон измерения температур теплоносителя Θ, °С | от 15 до 105 |
| Диапазон измерения разности температур теплоносителя ΔΘ, К (°С) | от 3 до 65 |
| Максимальная температура измеряемой среды для преобразователя расхода крыльчатого, °С | 90 |
| Максимальное избыточное рабочее давление измеряемой среды, МПа | 1,6 (PS16 по СТБ EN1434-1-2011) |
| Номинальное давление измеряемой среды, МПа | 1,0 (PN10 по СТБ EN1434-1-2011) |
| Максимальная потеря давления при постоянном значении расхода Δр, МПа | 0,025 |
| Единица измерения тепловой энергии | ГДж |
| Наибольшее показание объема, м3 | 9999,999 |
| Наибольшее значение количества тепловой энергии, ГДж | 9999,999 9999 |
| Тип ТСП | Pt500 |
| Класс исполнения по условиям окружающей среды по СТБ EN1434-1-2011 | А |
| Диапазон температуры окружающего воздуха в рабочих условиях, °С | от 5 до 55 |
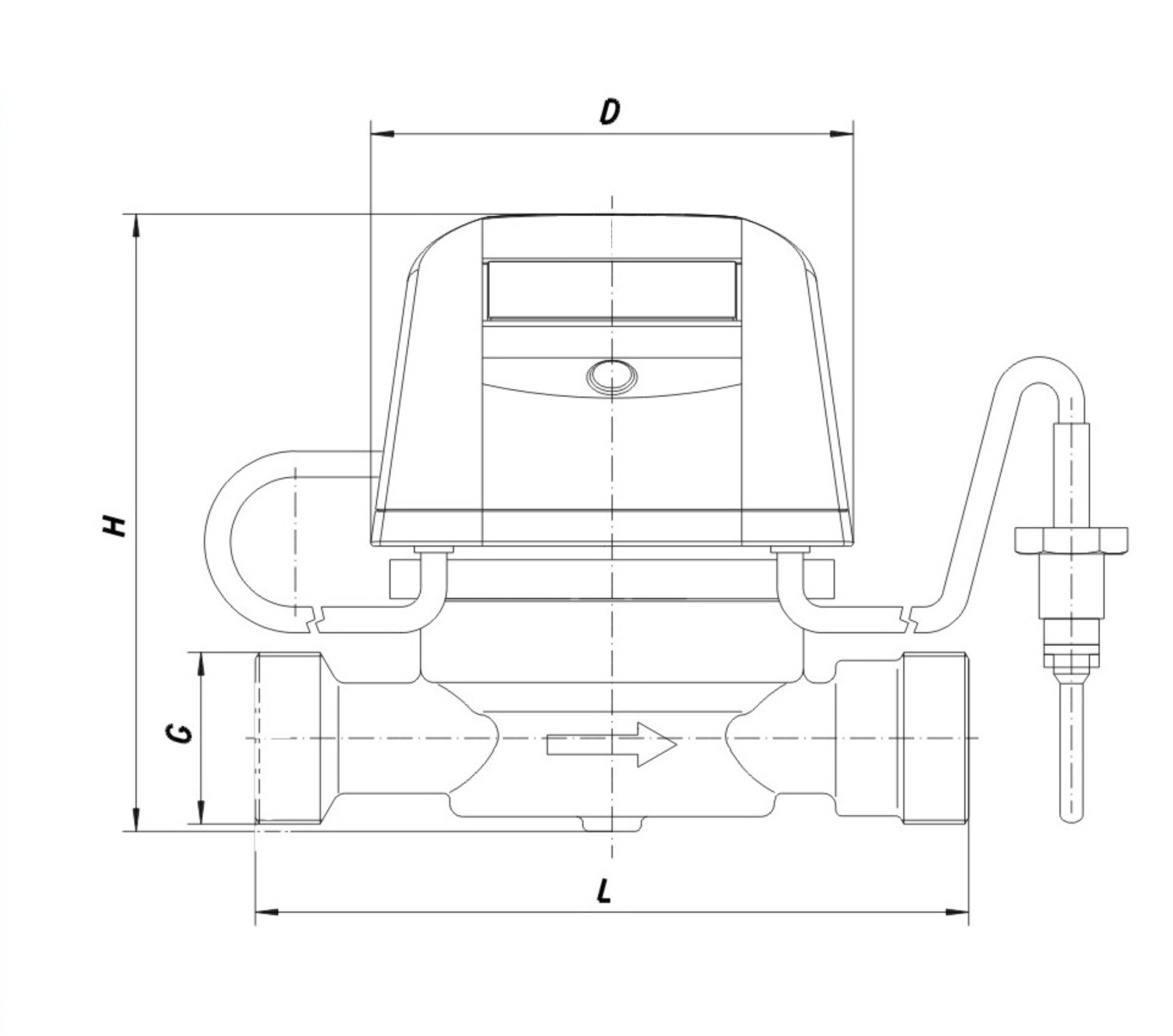
Габаритные размеры теплосчетчиков «Струмень» ТС-05К:

| Диаметр Dn, мм | 15 | 20 |
| Размер резьбовых соединений, дюйм | 3/4'' | 1'' |
| Длина, L, мм | 110 | 130 |
| Высота, Н, мм | 96 | 100 |
| Ширина, D, мм | 75 | 75 |
| Масса, кг | 0,8 | 0,8 |
- Монтажное положение: вертикальное, горизонтальное
- Длина кабеля от ТСП до ЭВ не более 2 м
- Конструктивно в корпусе преобразователя расхода предусмотрено место для установки ТСП
Документация по теплосчетчикам «Струмень» ТС-05К:
Функциональные возможности теплосчетчиков «Струмень» ТС-05К:
- измерение потребления тепловой энергии
- отображение актуальных данных: расход тепла, объема теплоносителя, температуры теплоносителя в трубопроводах
- самодиагностика – обнаружение и сигнализация аварийных состояний измерительной системы, например отсутствия импульса из расходомера, повреждения ТСП, слишком большого расхода, снижения напряжения батареи
- хранение информации о потребляемой тепловой энергии в архивах
- ведение архива событий
